概述
JJ-YC型音叉式液位开关是一种通用型的液位开关。音叉由压电晶体激励产生振动,当音叉被液体或固体浸没时振动频率发生变化,这个频率变化由电子线路检测出来并输出一一个开关量,达到液位报警或控制的目的。
音义式液位开关的结构及原理特性使其能够取代任何一种机理的液位开关,广泛应用于石化、冶金、轻工、建材等行业中对液位进行_上/下限位报警及控制。
工作原理根据物料对振动中的音叉有无阻力,探知料位是否到达或超过某高度,并发出通断信号,这种原理不需要大幅度的机械运动,驱动功率小,不必校准,可快速低成本启动。结构简单,无机械运动部件,无维修、无磨损,运行寿命长,灵敏而可靠。
传感器的音叉以固有的频率振动,当音叉触及液体或其他物料时,其固有的振动频率降低,能量消耗在物料颗粒间的摩擦上,迫使振幅急剧衰减而停振,频率的变化激活液位开关,产生通断信号。 音叉式物位开关又被称作“电气浮子”凡使用浮球液位开关和由于结构、湍流、搅动、气泡、振动等原因导致不能使用浮球液位开关的场合均可使用“音叉式物位开关”。由于音叉物位开关无活动部件,因此无须维护和调整,是浮球液位开关的升级换代产品。音叉式物位开关广泛应用于石化、轻工、食品、水处理等行业,对物位进行上/下限位报警及控制。
产品特点:
◆适应性强:被测物料不同的电参数、密度对测量均不产生影响。结垢、搅动、湍流、气泡、振动、中等粘度、高温、高压等恶劣条件对检测也无影响。
◆免于维护:由于音叉限位开关的检测过程由电子电路完成,无活动部件,所以一经安装投运便不需要维护。
◆不需调校:由于音叉限位开关的检测不受被测介质电参数及密度的影响,所以无论测量何种液体都不需现场调校
典型应用对象:
◆自来水、矿泉水 、汽柴油 ◆可产生气体的液体
◆纸浆、胶水、染料 、化工 ◆啤酒、啤酒发酵剂、饮料
◆废水、泥浆、酸、碱溶液 ◆流动性好的固体粉料、小颗粒
技术指标:
◆电源电压: AC 220V 50Hz或DC 24V
◆工作温度:叉体-30~150℃ .仪表-30~70℃
◆工作压力:小于2MPa,
◆介质密度:最低0.6g/cm³
◆动作点:垂直插入水中约25mm处
◆起振时间:约3秒
◆响应时间:约1秒
◆输出方式:一组继电器输出(AC 220V/3,DC 30V/3A)
◆输出延时: 1~20秒可调
◆灵敏度:可设置10级
◆功耗:小于1W
◆安装接头: R1锥管螺纹
◆外形尺小:如图1、2所示
安装方式
如上图所示,限位开关通常采用侧装(在仓壁侧面安装方式安装于仓体侧壁对料位高度进行上下限位置的检测,当仓体不便侧面开孔时可采用顶装(在仓的顶部安装)方式安装。安装位置应能避开进料时物料的冲击。
正确安装方法:
说明:① 对于较高粘度的液体及固体粉料、小颗粒料安装时叉体方向标记必须冲上。
② 电器接口不要冲上,应向下倾斜。
错误安装方法:
说明:① 对于较高粘度的液体及固体粉料、小颗粒料安装时叉体方向标记必须冲上。图中所示安装方向会对测量造成影响。
② 电器接口不要冲上,应向下倾斜。
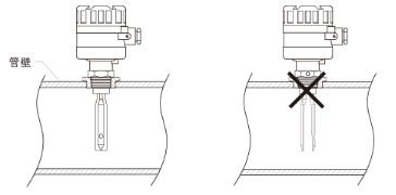
管道检测的安装方法:
说明:在管道中安装时方向标记应与液体流向一致。右图中安装方向会对测量造成影响
法兰安装方法:
说明:延长管应伸入仓内,避免探极与焊接管之间形成腔体。
安装管座加工图:
注意事项:

版权所有©江苏金捷自动化仪表有限公司
联系人:钱先生
电话:18915185465
邮箱:3396206147@qq.com
地址:金湖县金南镇工业集中区振兴路7号